HOME-Au
HOME-Au
24h
24h
USA
USA
GOP
GOP
Phim Bộ
Phim Bộ
Videoauto
VIDEO-Au
Home Classic
Home Classic
Donation
Donation
News Book
News Book
News 50
News 50
worldautoscroll
WORLD-Au
Breaking
Breaking
 

Go Back   VietBF > Other News|Tin Khác > Auto News |Tin Ô Tô


Reply
 
Thread Tools
  #1  
Old  Default Độc đáo hệ thống an toàn mới trên xe Mercedes-Benz
Hãng xe Đức Mercedes-Benz vừa đăng ký sở hữu trí tuệ về công nghệ an toàn mới tại châu Âu.

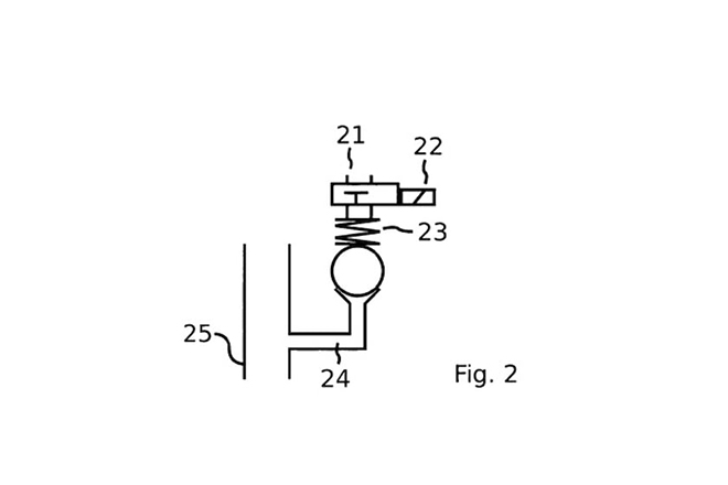
Trong một đăng ký sở hữu trí tuệ mới đây vừa được Daimler AG gửi lên các cơ quan chức năng tại châu Âu, một công nghệ mới được thiết kế giúp hãm chiếc xe khi hệ thống phanh gặp trục trặc. Công nghệ này được miêu tả trong bản thiết kế là sẽ đóng vai trò hỗ trợ người lái với van đặt tại bánh xe có thể tự động xả hơi trong lốp. Ở các trường hợp phanh khẩn cấp hoặc hỏng phanh, hệ thống sẽ xì lốp hoàn toàn để giúp chiếc xe giảm tốc độ.

Hệ thống sẽ gồm một bộ điều khiển trung tâm và thiết bị với khả năng xả khí trong bánh xe. Cả hai sẽ đi vào hoạt động nếu hệ thống phanh bị lỗi hoặc hỏng hoàn toàn. Trong bản thiết kế, hệ thống này được thiết kế dành riêng cho xe điện và hybrid vì Mercedes-Benz đã hướng đến việc loại bỏ hoàn toàn xe dùng động cơ đốt trong trong tương lai gần.


Lý do mà Daimler phải phát minh ra hệ thống hỗ trợ người lái này là vì những chiếc xe điện, xe lai hiện đại thường sử dụng đến hai hệ thống phanh, một là phanh cơ khí truyền thống và một là phanh tái sinh bằng điện. Hệ thống phanh tái sinh sẽ được sử dụng khi người lái phanh nhẹ để hồi phục năng lượng cho viên pin. Một khi pin đã được sạc đầy hoặc người lái phanh mạnh, hệ thống phanh cơ khí mới được sử dụng.

Vì tích hợp đến hai hệ thống phanh phức tạp trên cùng một chiếc xe nên sẽ rườm rà hơn và hãng sản xuất phải sử dụng công nghệ brake-by-wire. Công nghệ này loại bỏ đường ống dầu phanh chạy quanh xe, thay vào đó là cảm biến vị trí và áp lực đặt tại chân phanh, đo lực phanh và độ sâu để truyền dữ liệu dạng điện tử đến hệ thống phanh xử lý và đưa ra mức áp suất phanh cần thiết. Cũng vì lý do dùng dữ liệu số hóa nên các hệ thống dễ gặp lỗi và hư hỏng, đặc biệt là một hệ thống quan trọng như phanh lại càng phải có biện pháp phòng hờ.


Hệ thống hỗ trợ mới của Daimler sẽ chỉ được kích hoạt khi bộ chấp hành tổng bị lỗi hoặc hư hỏng hoàn toàn. Khi đó, bàn đạp phanh sẽ được nối đến hệ thống này, người lái đạp phanh, hệ thống sẽ xả bớt khí ở bánh xe để làm cho chúng xẹp hoàn toàn. Vậy việc làm xì lốp giúp ích gì?

Chúng ta thường hai bơm căng lốp để chạy xe tiết kiệm hơn do bề mặt tiếp xúc giữa bánh xe và mặt đường giảm. Ở đây thì ngược lại, bề mặt lốp sẽ tiếp xúc nhiều hơn với mặt đường khi lốp bị xì, tăng lực cản và từ từ làm chiếc xe chậm lại. Tuy nhiên, nếu bánh xe bị xì quá mức có thể làm lốp bung ra khỏi mâm xe, gây nguy hiểm.

Là một nhà sản xuất, Daimler đã phải tính toán tất cả các yếu tố của bất kỳ công nghệ nào trước khi nộp bằng sáng chế. Ở hệ thống này, tất cả các bánh xe sẽ được tích hợp van xả khí. Máy tính trên xe sẽ bắt đầu xả khí từ những bánh xe có áp suất thấp nhất. Sau khi xả khí đến mức an toàn, máy tính sẽ giới hạn tốc độ xe và cảnh báo người lái về vấn đề mà chiếc xe đang gặp phải.




Ngoài ra, hệ thống này còn có thể bơm lại lốp xe. Bên cạnh van xả khí, hệ thống còn được tích hợp với máy bơm và cảm biến áp suất để theo dõi và tự động bơm lốp xe đến mức cần thiết. Tuy nhiên, đây không phải lần đầu tiên một mẫu xe của Daimler có được hệ thống này. Chiếc xe bán tải Mercedes-AMG G63 6x6 trước đây đã có hệ thống xả, bơm lốp tích hợp trên xe nhưng nó lại quá lớn để có thể mang lên những chiếc sedan sang trọng.

Đến nay, hệ thống mới được nộp bằng sáng chế của Daimler mới được hoàn thiện với kích thước nhỏ hơn nhiều và phù hợp với nhiều dòng xe hơn. Dự kiến hệ thống này sẽ được sử dụng trên những mẫu xe điện thương mại hạng sang trong tương lai và là tùy chọn dành cho các dòng xe phổ thông.
VIETBF Diễn Đàn Hay Nhất Của Người Việt Nam

HOT NEWS 24h

HOT 3 Days

NEWS 3 Days

HOT 7 Days

NEWS 7 Days

HOME

Breaking News

VietOversea

World News

Business News

Car News

Computer News

Game News

USA News

Mobile News

Music News

Movies News

History

Thơ Ca

Sport News

Stranger Stories

Comedy Stories

Cooking Chat

Nice Pictures

Fashion

School

Travelling

Funny Videos

Canada Tin Hay

USA Tin Hay

VietBF Homepage Autoscroll

VietBF Video Autoscroll Portal

Home Classic

Home Classic Master Page

VietBF iPad Music Portal

Tin nóng nhất 50h qua

Phim Bộ Online

Phim Bộ



miro1510
R9 Tuyệt Đỉnh Tôn Sư
Release: 11-30-2021
Reputation: 13837


Profile:
Join Date: Oct 2014
Posts: 47,133
Last Update: None Rating: None
Attached Thumbnails
Click image for larger version

Name:	334.1.jpg
Views:	0
Size:	283.2 KB
ID:	1935152   Click image for larger version

Name:	334.2.jpg
Views:	0
Size:	162.7 KB
ID:	1935153   Click image for larger version

Name:	334.3.jpg
Views:	0
Size:	45.7 KB
ID:	1935154  

Click image for larger version

Name:	334.4.jpg
Views:	0
Size:	26.7 KB
ID:	1935155  
miro1510_is_offline
Thanks: 9
Thanked 2,096 Times in 1,935 Posts
Mentioned: 3 Post(s)
Tagged: 0 Thread(s)
Quoted: 8 Post(s)
Rep Power: 59
miro1510 Reputation Uy Tín Level 6
miro1510 Reputation Uy Tín Level 6miro1510 Reputation Uy Tín Level 6miro1510 Reputation Uy Tín Level 6miro1510 Reputation Uy Tín Level 6miro1510 Reputation Uy Tín Level 6miro1510 Reputation Uy Tín Level 6miro1510 Reputation Uy Tín Level 6miro1510 Reputation Uy Tín Level 6miro1510 Reputation Uy Tín Level 6miro1510 Reputation Uy Tín Level 6miro1510 Reputation Uy Tín Level 6miro1510 Reputation Uy Tín Level 6miro1510 Reputation Uy Tín Level 6miro1510 Reputation Uy Tín Level 6miro1510 Reputation Uy Tín Level 6miro1510 Reputation Uy Tín Level 6
Reply

User Tag List


Trump kiện BBC đòi 10 tỷ đô: đòn dằn mặt báo chí hay cuộc chiến danh dự thật sự? Ba người hùng đã mãi mãi ngã xuống khi ra tay ngăn chặn 2 tên khủng bố ở bải biển Bondi, Úc Mỹ tràn ngập người thất nghiệp, năm tệ nhất từ sau đại dịch
Tiền ảo nhà Trump mất sạch giá trị, Melania coin mất 99%, bong bóng cổ phiếu sụp đổ và bài toán “nước Mỹ giàu lắm” Ford thắng lớn với xe xăng, “để đó” xe điện – và vì sao giấc mơ xe tí hon giá rẻ vẫn xa tầm tay người Mỹ Little Saigon Landmark Seattle: “Ngôi nhà neo đậu” mới cho cộng đồng người Việt
Boba & Beans – Quán ăn Việt thắp hương quê giữa trung tâm Meriden Bellaire Market District 100 triệu USD: ‘Chợ 3 Miền’ đưa Little Saigon Houston bước sang trang mới Hà Nội xếp hàng thẳng tắp: khi camera AI dạy lại văn hoá đèn đỏ
Tổng thống ‘Hòa Bình’ và những biên giới đỏ lửa: Thái–Miên, Pakistan–Afghanistan và vở kịch giải thưởng cho Trump Chernobyl lại báo động đỏ: Lá chắn thép 2,1 tỷ euro bị drone đánh thủng, IAEA cảnh báo mất chức năng an toàn Paris lại đăng quang, Bangkok đông nghẹt, Viêng Chăn vẫn lặng lẽ: Bản đồ du lịch 2025 giữa kỷ lục mới và những góc bình yên
Trump Thắng Lớn Trong Cuộc Chiến ‘Bãi Nhiệm Không Cần Lý Do Vì Sao Tôi Chống Trump: Từ Nước Mắt Trong ICU Đến Chiếc Ô Đỏ MAGA Và Trò Hề ‘Giải Hòa Bình’ Từ Okinawa đến màn hình điện thoại: Trung Quốc leo thang quân sự, siết kiểm soát số và cuộc chiến bóng ma quanh Đài Loan
Cú quay đầu của lá phiếu Latino: từ ‘kỳ tích’ Trump 2024 đến khối cử tri dao động nhất nước Mỹ Cộng đồng Somali ở Minnesota đứng dậy giữa bão trục xuất Trung Quốc ăn cắp máy quang khắc bất thành – vì sao ‘đốt cháy giai đoạn’ trong ngành chip là chuyện bất khả?
Cú “cắn ghế” thần tốc ở Hà Nội: Mailisa, Doctor Magic và ván cờ phe phái Ngân sách tăng thuế của Labour và nước Anh nơi 1/3 trẻ em sống trong nghèo đói Đĩa mì Ý ở Mỹ trước bão thuế 107%: từ “xa xỉ phẩm 4 đô” đến nỗi lo mất luôn món ăn bình dân
Mùa mua sắm Mỹ thời bão giá: Macy’s, Old Navy, Walmart xoay xở, Sears hấp hối – trong khi Đài Loan bứt tốc nhờ cơn sốt AI Tịch thu 100 sổ đỏ, 300 cây vàng SJC, 400k USD, 3 tỷ đồng của Mailisa và còn nhiều nữa, siêu xe hàng tá, tiền hàng ...tấn Giáo hoàng Leo XIV kêu gọi chấm dứt lợi dụng tôn giáo cho chiến tranh trong chuyến công du Thổ Nhĩ Kỳ – Li Băng
Louvre tăng giá vé 45% với khách ngoài châu Âu: bức tranh đắt đỏ mới của “ngôi đền nghệ thuật” Paris Bão Mặt Trời đe dọa buồng lái: hơn 6.000 máy bay Airbus A320 phải sửa gấp vì nguy cơ mất kiểm soát 10 ngày ở ghế Chủ tịch Hà Nội: Nguyễn Đức Trung và bài toán nhân sự trước Đại hội 14
Nếu VinFast thua sạch ở Mỹ: Hoá đơn có thể lên tới 1,5 tỷ USD Từ Việt Minh đến Chuyên Chính Đỏ: Chiến lược che giấu và thanh trừng có chủ đích Từ Nội Chiến Mỹ đến Việt Nam: Hai cách đối xử với người lính bại trận
“Hãy công bố kết quả MRI đi!” – Tim Walz dội gáo nước lạnh vào cơn thịnh nộ Lễ Tạ Ơn của Donald Trump Từ Vệ Binh Quốc Gia đến Quân Lực Việt Nam Cộng Hòa – hành trình một đạo quân quốc gia “Người Cày Có Ruộng” – ngày vui nhất đời Tổng thống Thiệu và ký ức tem thư của một thằng bé Sài Gòn
Tiền tuyến rực lửa, bàn đàm phán nóng lên: Ukraine vạch lằn ranh đỏ trước kế hoạch hòa bình của Trump Starbucks – Target và ly socola bạc hà cứu vãn mùa Giáng sinh ảm đạm Phố thời trang tắt đèn trước Tết: Tiểu thương Hà Nội kẹt giữa gánh thuê nhà và thuế khóa

 
Lên đầu Xuống dưới Lên 3000px Xuống 3000px

iPad Videos Portal Autoscroll

VietBF Music Portal Autoscroll

iPad News Portal Autoscroll

VietBF Homepage Autoscroll

VietBF Video Autoscroll Portal

USA News Autoscroll Portall

VietBF WORLD Autoscroll Portal

Home Classic

Super Widescreen

iPad World Portal Autoscroll

iPad USA Portal Autoscroll

Phim Bộ Online

Tin nóng nhất 24h qua

Tin nóng nhất 3 ngày qua

Tin nóng nhất 7 ngày qua

Tin nóng nhất 30 ngày qua

Albums

Total Videos Online
Lên đầu Xuống dưới Lên 3000px Xuống 3000px

Tranh luận sôi nổi nhất 7 ngày qua

Tranh luận sôi nổi nhất 14 ngày qua

Tranh luận sôi nổi nhất 30 ngày qua

10.000 Tin mới nhất

Tin tức Hoa Kỳ

Tin tức Công nghệ
Lên đầu Xuống dưới Lên 3000px Xuống 3000px

Super News

School Cooking Traveling Portal

Enter Portal

Series Shows and Movies Online

Home Classic Master Page

Donation Ủng hộ $3 cho VietBF
Lên đầu Xuống dưới Lên 3000px Xuống 3000px
Diễn Đàn Người Việt Hải Ngoại. Tự do ngôn luận, an toàn và uy tín. Vì một tương lai tươi đẹp cho các thế hệ Việt Nam hãy ghé thăm chúng tôi, hãy tâm sự với chúng tôi mỗi ngày, mỗi giờ và mỗi giây phút có thể. VietBF.Com Xin cám ơn các bạn, chúc tất cả các bạn vui vẻ và gặp nhiều may mắn.
Welcome to Vietnamese American Community, Vietnamese European, Canadian, Australian Forum, Vietnamese Overseas Forum. Freedom of speech, safety and prestige. For a beautiful future for Vietnamese generations, please visit us, talk to us every day, every hour and every moment possible. VietBF.Com Thank you all and good luck.

Lên đầu Xuống dưới Lên 3000px Xuống 3000px

All times are GMT. The time now is 05:52.
VietBF - Vietnamese Best Forum Copyright ©2005 - 2025
User Alert System provided by Advanced User Tagging (Pro) - vBulletin Mods & Addons Copyright © 2025 DragonByte Technologies Ltd.
Log Out Unregistered

Page generated in 0.12533 seconds with 15 queries